Apparatuses for precision loading of packages for last-mile autonomous delivery
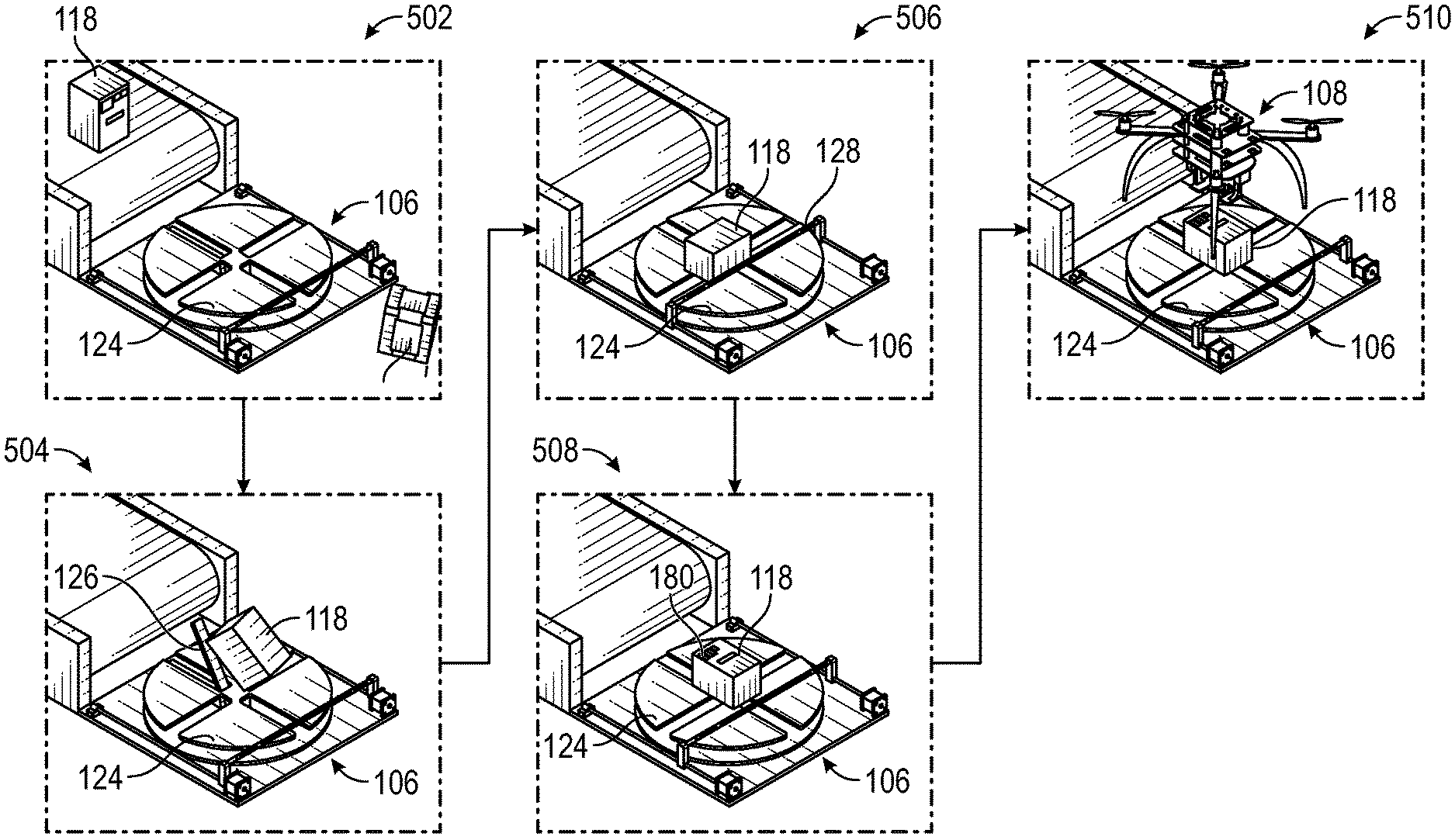
Flipping boxes for easy grabbing. The prototype was much smaller than a typical drone (3D prints + servos). Full patent here.

Flipping boxes for easy grabbing. The prototype was much smaller than a typical drone (3D prints + servos). Full patent here.
