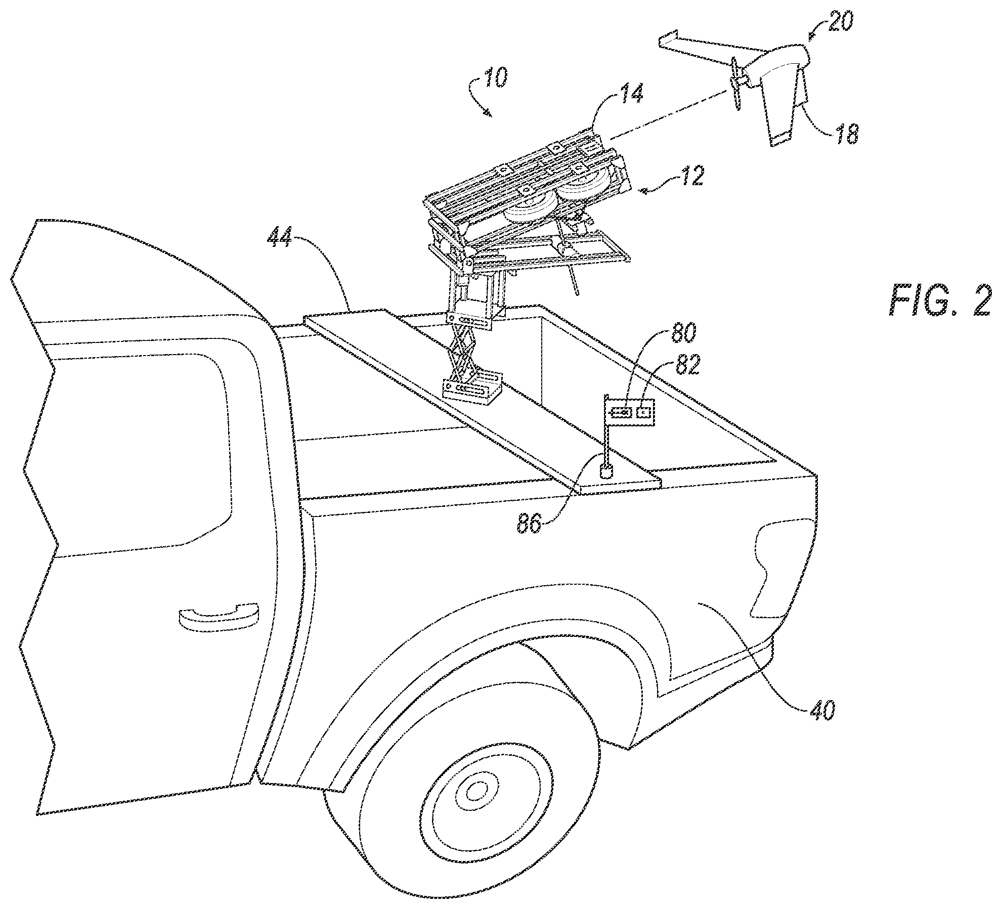
Vehicle mounted launcher for fixed-wing unmanned aerial vehicle
When I started at Ford, the lead scientist on my team, Adi, asked me ‘what do you think would be more difficult? launching a multi-rotor from a moving vehicle or a fixed wing?’ I said fixed wing and he said ‘let’s figure it out.’ Give a new engineer access to a good makerspace and weird stuff gets built. Full patent here.
